Микроскопия: метод темного поля
Метод темного поля в основном используется для изучения в проходящем свете прозрачных неабсорбирующих объектов, которые невозможно наблюдать методом светлого поля. Чаще всего – биологических, например бактерий и простейших. В отраженном свете можно также изучать и непрозрачные образцы, например шлифы металлов.
Принцип работы следующий. Свет от осветителя проходит через специальный конденсор темного поля, который формирует пучок лучей в виде полого конуса и направляет его на исследуемый препарат. Основная часть лучей проходит мимо объектива, а изображение формируется только светом, рассеянным неоднородной структурой образца. В поле зрения микроскопа на темном фоне отображаются светлые участки структуры препарата и крупные частицы со светлыми краями, имеющие отличный от окружающей среды показатель преломления.
Для проведения исследований в темном поле необходимо использовать микроскопы особой конструкции или специальные темнопольные конденсоры, которые устанавливаются на место штатного конденсора.
Недостатки и преимущества исследований по методу темного поля
Как и любой метод исследований, темнопольная микроскопия имеет свои преимущества и недостатки.
Основной плюс этого метода – возможность работать с прозрачными объектами, которые нельзя наблюдать в светлом поле. А недостатки определяются физическими ограничениями.
Во-первых, это необходимость использовать очень мощные источники света, которые зачастую могут повредить образец. Это связано с тем, что для формирования изображения используется малая часть исходного света, а большая его часть не попадает в объектив. Но, например, при работе с мощным лазерным освещением препарат можно просто-напросто случайно сжечь.
Во-вторых, апертура конденсора должна быть существенно выше апертуры объектива микроскопа, что сильно сказывается на разрешающей способности последнего. Максимальное значение апертуры объектива для работы по методу темного поля может составлять 1,2, а зачастую и того меньше – 0,8. Для сравнения, этот же показатель у светопольного объектива может достигать 1,45.
В-третьих, для работы по методу темного поля нельзя использовать толстые предметные стекла. При большой толщине предметного стекла невозможно получить правильное освещение образца, так как фокус конденсора смещается с препарата внутрь стекла. Например, с конденсором темного поля ОИ-13 можно использовать только стекла толщиной не более 1,2 мм.
В-четвертых, по получаемому изображению нельзя ничего сказать о прозрачности частиц образца и о том, какой показатель преломления они имеют.
На первый взгляд может показаться, что метод темного поля проигрывает исследованиям в светлом поле, однако это не совсем так. Не стоит забывать, что прозрачные образцы невозможно исследовать в светлом поле. Кроме того, каждый из этих методов выделяет разные особенности образца. Светлопольная микроскопия делает видимыми резкие переходы и крупные элементы, которые отбрасывают тени, а плавные изменения лучше отражает метод темнопольной микроскопии.
Конденсор темного поля: особенности и порядок работы
Конденсор темного поля – это элемент осветительной системы микроскопа, представляющий собой систему линз. Он устанавливается в том случае, когда планируются исследования по методу темного поля. Задача конденсора – собрать максимальное количество света от источника освещения и направить его на исследуемый образец. Конденсор способен значительно усиливать освещенность препарата, за счет фокусировки на нем в том числе и тех лучей, которые при отсутствии конденсора прошли бы мимо препарата.
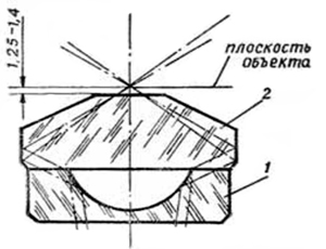
Типовая схема устройства представлена на изображениях выше (конденсор темного поля ОИ-13). Сферическое зеркало (1) склеено с линзой-кардиоидой (2) и вставлено в оправу (3). Вся конструкция помещена в цилиндр (4) и закреплена в корпусе конденсора (5). При помощи винтов настройки (6) можно корректировать местоположение конденсора относительно поля зрения микроскопа. Конденсор считается идеально отцентрированным в том случае, если при отсутствии образца в выходном зрачке объектива не видно света.
Размещается конденсор между источником освещения и предметным столиком таким образом, что последний соприкасается с верхней линзой конденсора.
Для проведения наблюдений по методу темного поля необходимо:
- Выбрать окуляр и объектив микроскопа, подходящие для наблюдения.
- Настроить освещение.
- Заменить штатный конденсор микроскопа на конденсор темного поля и убедиться, что он надежно закреплен стопорным винтом.
- Нанести на верхнюю поверхность линзы конденсора 1–2 капли иммерсионной жидкости и проверить, что жидкость не содержит пузырьков воздуха.
- Закрепить на предметном столике образец для исследований. Желательно использовать предметное стекло толщиной до 1,2 мм.
- Переместить конденсор так, чтобы иммерсионная жидкость покрыла всю площадь контакта между предметным столиком и верхней линзой конденсора.
- При помощи винтов отрегулировать положение конденсора относительно объектива таким образом, чтобы наблюдаемое в поле зрения микроскопа световое пятно стало минимальным или исчезло вовсе.
- Сфокусировать микроскоп на исследуемом образце. Вы должны наблюдать эффект темного поля: светлые участки объекта на темном поле. При отсутствии образца на предметном столике в выходном зрачке объектива не должно быть видно света.
- Микроскоп готов к проведению наблюдений по методу темного поля.
Особенности эксплуатации
Как и любой прибор с оптической схемой, конденсор темного поля требует очень бережного отношения. Любой удар может повредить внутреннюю линзовую систему, а неаккуратное движение — оставить царапины на оптических поверхностях. Поэтому конденсор рекомендуется устанавливать на микроскоп только для проведения исследований, а в остальное время хранить в защищенном футляре. Пыль, грязь и жир следует удалять ватой или мягкой тряпочкой, слегка смоченной ксилолом или бензином. Если вы впервые приобретаете конденсор, рекомендуем при его получении проверить сохранность упаковки и наличие пломб. Обычно на корпусе выгравированы шифр, показатель апертуры, товарный знак изготовителя и порядковый номер изделия.
Обратите внимание, что темнопольный конденсор не рассчитан на эксплуатацию при отрицательных температурах, оптимальный температурный диапазон составляет от +10 до +35 °C, поскольку преломляющие свойства иммерсионной жидкости меняются за пределами указанного температурного диапазона.
В интернет-магазине «Четыре глаза» вы можете выбрать и купить темнопольный микроскоп, а также конденсор темного поля.
Использование материала полностью для общедоступной публикации на носителях информации и любых форматов запрещено. Разрешено упоминание статьи с активной ссылкой на сайт www.4glaza.ru.
Производитель оставляет за собой право вносить любые изменения в стоимость, модельный ряд и технические характеристики или прекращать производство изделия без предварительного уведомления.

